(資料期間:2025年1月至10月19日)
斗六市91地段、排除沒有交易地段、不足10坪與交易有混合的成交紀錄,彙整如下
成交筆數最多到最低:第一,農地(約4成)、第二,乙種建地(約1成6)、第三,住宅建地(佔1成3)。
住宅建地與商業建地最高成交41~42萬、甲建最高22萬、乙建最高14萬、農地最高5.8萬、工業地最高12萬


交易單價最高前10名為:
住宅建地:地段落在雲林溪段、自強段、朱丹灣小段、林頭段、海豐崙小段、大潭段社口小段
商業建地:地段落在中正一段、大潭段社口小段、斗六二段

各類型土地,前3名單價排行:
🏪 商業建地前3名(30~41.7萬)

- 中正一段263地號:41.7萬/坪
- 大潭段社口小段101-36地號:34.9萬/坪
- 斗六二段675地號:30萬/坪
🏠 住宅建地前3名(35~42萬)

- 雲林溪段153地號:42萬/坪
- 自強段22地號:38.93萬/坪
- 自強段30-1地號:35萬/坪
🏭 工業建地前3名(11.7~12.3萬)

- 光明段491地號:12.3萬/坪
- 光明段566地號:12.25萬/坪
- 光明段401地號:11.7萬/坪
🏗️ 甲種建地前3名(6.97~22萬)

- 大竹圍段495地號:22萬/坪
- 八德段165-2地號:20萬/坪
- 石牛溪段388地號:6.97萬/坪
🏘️ 乙種建地前3名(11~14萬)

- 梅林東段901-3地號:14.05萬/坪
- 溪洲段818-9地號:13.84萬/坪
- 大崙段茄苳腳小段86-39地號:11萬/坪
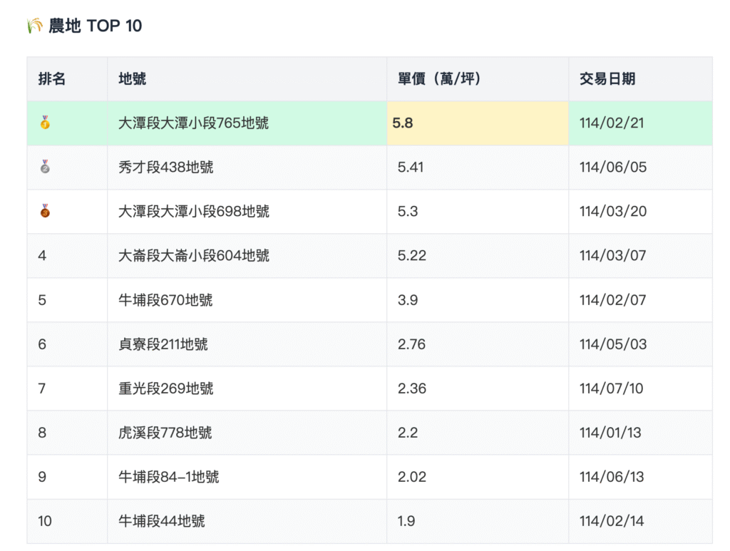
🌾 農地前3名(5.3~5.8萬)

- 大潭段大潭小段765地號:5.8萬/坪
- 秀才段438地號:5.41萬/坪
- 大潭段大潭小段698地號:5.3萬/坪
成交量最多地段TOP 10
(前10名合計68筆,佔總交易37.8%)

市場特徵
- 農地交易最活絡(74筆,41.1%),市場流動性最佳
- 乙種建地次之(30筆,16.7%),交易活躍
- 商業建地稀缺(5筆,2.8%),單價最高
- 工業建地價格最穩定(價差僅1.7倍)
- 小坪數交易達48筆(21.1%),佔比顯著
價格特徵
- 最高價42.72萬 vs 最低價0.13萬,價差達323倍
- 農地價格波動最大(44.6倍),投資風險高
- 小坪數乙種建地溢價194.4%,需謹慎評估
- 住宅建地大小坪數價差僅3%,相對合理


按總成交金額由高至低的地段排名
🏆 地段排名(前20名)
1. 西平段
- 成交筆數:2 筆
- 單價區間:0.13 ~ 2.21 萬元/坪
- 最高單價:2.21 萬元/坪
- 最低單價:0.13 萬元/坪
- 總成交金額:24,924 萬元
2. 大潭段 🥈
- 成交筆數:19 筆
- 單價區間:0.96 ~ 34.90 萬元/坪
- 最高單價:34.90 萬元/坪
- 最低單價:0.96 萬元/坪
- 總成交金額:22,242.3 萬元
3. 海豐崙段 🥉
- 成交筆數:9 筆
- 單價區間:2.17 ~ 30.28 萬元/坪
- 最高單價:30.28 萬元/坪
- 最低單價:2.17 萬元/坪
- 總成交金額:12,992.5 萬元
4. 公正段
- 成交筆數:3 筆
- 單價區間:10.00 ~ 20.00 萬元/坪
- 最高單價:20.00 萬元/坪
- 最低單價:10.00 萬元/坪
- 總成交金額:7,266.4 萬元
5. 中正一段 ⭐
- 成交筆數:1 筆
- 單價區間:41.70 萬元/坪(單一交易)
- 最高單價:41.70 萬元/坪
- 最低單價:41.70 萬元/坪
- 總成交金額:7,207.0 萬元
6. 埤口段
- 成交筆數:5 筆
- 單價區間:5.16 ~ 36.14 萬元/坪
- 最高單價:36.14 萬元/坪
- 最低單價:5.16 萬元/坪
- 總成交金額:6,704.8 萬元
7. 三平段
- 成交筆數:2 筆
- 單價區間:16.00 ~ 21.00 萬元/坪
- 最高單價:21.00 萬元/坪
- 最低單價:16.00 萬元/坪
- 總成交金額:4,366.7 萬元
8. 石牛溪段
- 成交筆數:7 筆
- 單價區間:0.62 ~ 6.97 萬元/坪
- 最高單價:6.97 萬元/坪
- 最低單價:0.62 萬元/坪
- 總成交金額:4,034.3 萬元
9. 溝子埧段
- 成交筆數:6 筆
- 單價區間:0.59 ~ 1.42 萬元/坪
- 最高單價:1.42 萬元/坪
- 最低單價:0.59 萬元/坪
- 總成交金額:3,952.6 萬元
10. 牛埔段
- 成交筆數:5 筆
- 單價區間:0.50 ~ 3.90 萬元/坪
- 最高單價:3.90 萬元/坪
- 最低單價:0.50 萬元/坪
- 總成交金額:3,795.2 萬元

🔍 整體土地市場趨勢分析
市場基本概況
- 總交易金額:至少16.09億元
- 平均交易面積:388.34 坪
價格特徵
- 平均單價:7.14 萬元/坪
- 單價中位數:2.90 萬元/坪
- 單價範圍:0.13 ~ 42.00 萬元/坪
- 價格落差:超過300倍,顯示市場區域差異極大
單價分布結構
- 0-5萬/坪:109 筆(56.2%)—— 主力市場
- 5-10萬/坪:40 筆(20.6%)
- 10-15萬/坪:17 筆(8.8%)
- 15-20萬/坪:6 筆(3.1%)
- 20-30萬/坪:12 筆(6.2%)
- 30-50萬/坪:10 筆(5.2%)—— 高價精華區
月份交易趨勢
- 交易最活躍月份:1月(31筆)、4月(26筆)、5月(26筆)
- 平均單價最高月份:4月(10.98萬元/坪)
- 平均單價最低月份:9月(1.98萬元/坪)
- 整體趨勢:上半年交易較為活躍,9月出現明顯降溫
市場結構特點
1️⃣ 高價精華區(30萬/坪以上)
代表地段:雲林溪段(42萬/坪)、中正一段(41.7萬/坪)、自強段(36.97萬/坪平均)
- 價格穩定,交易筆數少
- 多為市中心或發展完善區域
2️⃣ 中價成熟區(10-30萬/坪)
代表地段:埤口段、海豐崙段、公正段、三平段
- 交易活躍,佔總成交金額比重大
- 具發展潛力,受市場青睞
3️⃣ 低價郊區(5萬/坪以下)
代表地段:石農段、新溪洲段、萬年西段
- 筆數眾多,但單筆金額較小
- 多為農業用地或偏遠地區
重點觀察
✅ 西平段丁種建地與國土保安用地交易混合:雖然單價不高(0.13-2.21萬/坪),但因大面積交易11,253坪,總金額高達2.49億元,躍居第一
✅ 大潭段最活躍:19筆交易居冠,單價範圍廣(0.96-34.9萬/坪),顯示該區域發展多元
✅ 價格兩極化明顯:平均單價7.14萬元遠高於中位數2.90萬元,顯示少數高價交易拉高整體均價
✅ 交易集中度高:前10大地段佔總交易金額約58%,市場集中於特定區域
報告製作:AI分析基於房地產阿宥提供數據
免責聲明:本報告僅供參考,不構成投資建議。投資決策請審慎評估自身狀況,必要時諮詢專業人士。市場有風險,投資需謹慎。
📚 延伸閱讀:你可能也有興趣
- 不懂樂器也能免費做出 AI 歌曲和 MV?2026 年 Google AI Pro 用戶必知的 Producer.ai 完整教學
- iPhone 免費跑 Google Gemma-4 完整教學:最強開源 AI 完全離線、支援中文
- 2026年4月AI震撼:巨頭重塑、AI叛逃與支付革命
- 2025年4月AI大爆發:OpenAI o3、Gemini 2.5 Pro、Apple Intelligence 日文版震撼登場!
- 【2026年04月05日】雲林縣土地市場分析|剛性需求支撐
解壓縮 → 拖入 Claude Code → 輸入序號,5 分鐘完成安裝
✅ 套件內含功能:
🧠 雙層記憶系統(跨對話長期記憶,越用越懂你)
🔄 智慧規則載入(自動選最相關規則,省最高 89% Token)
📊 品質評估閘門(文章/程式碼送出前自動評分把關)
⚡ 自動學習任務框架(自動記錯誤→優化流程→持續進化)
🛠️ 11 個內建技能(知識餵養・網頁爬取・每日收尾等)
☁️ Google Drive 雲端同步引導
🔒 單一裝置授權,資料不外傳
原價 NT$1,288
NT$600
前 100 名限定優惠價格
每組序號第一裝置限一用・不可轉讓或分享

.png)